文水县国土资源局权力和责任清单
|
权力清单 |
责任清单 |
备注 |
||||||
|
职权类别 |
职权编码 |
职权名称 |
职权依据 |
责任事项 |
追责情形 |
追责依据 |
追责形式 |
|
|
其他权力 |
01265026-2-QT-0004 |
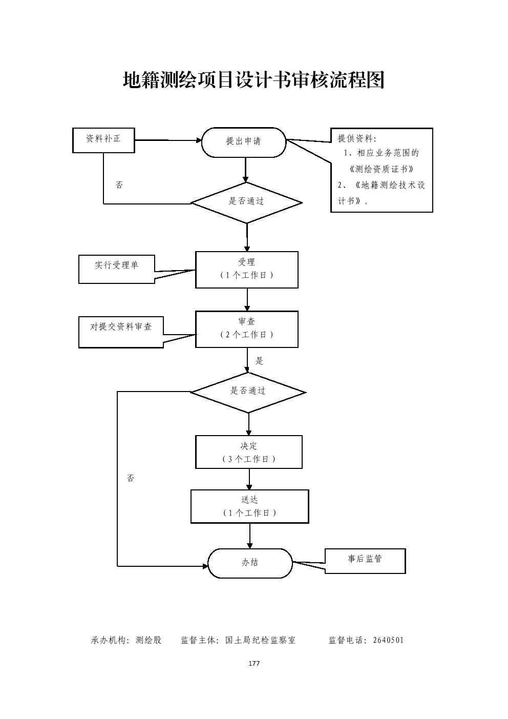
地籍测绘项目 设计书审核 |
【法律】《中华人民共和国测绘法》第三十条
【地方性法规】《山西省测绘管理条例》第三条第二款、第十四条第一款
|
1.受理责任:公示应当提交的材料,一次性告知补正材料,依法受理或不予受理,不予受理告知理由。 |
1.对符合法定条件的申请不予受理的; |
【法律】《中华人民共和国测绘法》第五十三条;《公务员法》第五十三、五十四、五十五条; |
(一)行政处理 1、诫勉谈话或者责令书面检讨; 2、通报批评; 3、暂扣行政执法证件; 4、责令离岗培训; 5、调离执法岗位 6、取消执法资格; 7、依法追偿部分或者全部行政赔偿费用。 (二)行政处分:警告、记过、记大过、降级、撤职、开除。 (三)党纪处分:警告、严重警告、撤销党内职务、留党察看、开除党籍。 (四)其他法律责任。 |
|

